Index of /sites/www.bitsavers.org/pdf/apple/disk/xserve_raid/
Name Last modified Size
Parent Directory -
603-6332/ 2024-03-03 17:10 -
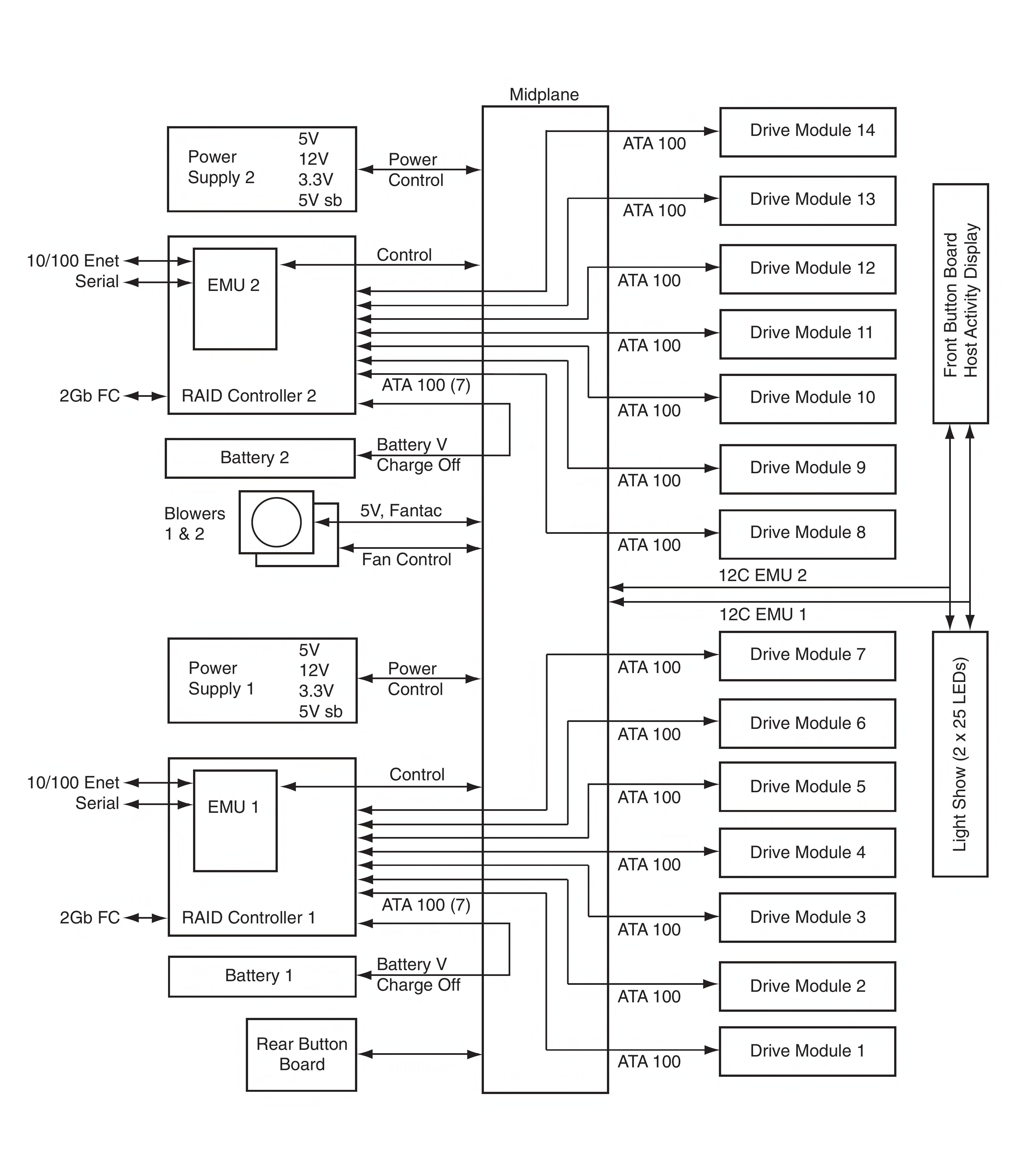
XRAID_block_diagram.jpg 2024-03-02 19:30 633K
XserveRAID_Service_Guide_200405.pdf 2024-03-03 13:41 1.7M
XserveRAID_User_Guide_2003.PDF 2024-03-03 13:41 2.2M
array_202403.JPG 2024-03-03 04:46 564K
evt/ 2024-03-03 17:10 -
raid_admin/ 2024-03-03 13:53 -
sata-pata/ 2024-03-03 04:46 -

